How much genetic similarity is considered baseline relatedness?

October 10, 2008

How much genetic similarity is considered baseline relatedness?

"Considering that a person’s nearest relatives (parents and full siblings) are only half genetically related, and a third cousin is nearing the baseline relatedness, what is considered baseline relatedness? I have read that half-fourth cousins share no more DNA than two people at random, even if a most recent common ancestor is known. Full fourth cousins share 2 out of 32 great-great-great grandparents, but half-fourth cousins share only 1 out of 32 great-great-great grandparents."

All of the people alive today can trace their ancestors back to about 10,000 people who lived 175,000 years ago. This is why we share about 99.5% of our DNA with most everyone on the planet. So in a way, we are all related.

People you share a recent (within the last few generations) common ancestor with, however, share more than just 99.5% of their total DNA with you. The closer a relative is, the more DNA you share. And the more distant a relative, the less DNA you share.

Once you get out to about fourth cousins, you sometimes get back down to only 99.5% shared DNA. In other words, at some point, DNA won't tell you if you are related to someone, even if you know the person is a cousin based on your family tree.

Exactly Matching Chunks

I keep saying that you share more DNA with someone who is related to you. More specifically, these relatives have long chunks of DNA that match up exactly with your DNA.

Remember, DNA is really just a long series of four different letters. Each of us has around 6 billion of these letters arranged in a certain order. It is the order of these letters that makes each of us unique.

Close relatives have big chunks of DNA that match up exactly. For example, with a brother or a sister you can get millions of letters that all match up perfectly. An aunt or uncle will have fewer, smaller stretches that match up. And a fourth cousin might not have any.

To understand where these long stretches of matched DNA come from, we need to talk a bit about chromosomes. We also need to talk about what happens when DNA is passed down from generation to generation.

DNA is Passed Down as Chromosomes

Chromosomes are simply how our DNA is cut up and packaged in our cells. Humans have 23 chromosome pairs. One chromosome from each pair comes from your biological mother and the other one comes from your biological father. But these chromosomes aren't passed down exactly as they are found in mom or dad. Instead you get a mix of each pair of your parent's chromosomes.

Let's look at an example to make this clearer. For simplicity, let's start with your dad and let's consider only one of his 23 pairs of chromosomes. We'll focus on chromosome 1.

Like his other chromosomes, your dad has a pair of chromosome 1's. One chromosome of the pair was inherited from your paternal grandpa (your dad's dad). The other came from your paternal grandma (your dad's mom).

Chromosome inheritance.

When sperm is made, only one chromosome of each pair gets put in. This is so that when the egg and sperm combine, you get the correct number of chromosomes. But the sperm doesn't get exactly one chromosome of the pair or the other. Instead, you get a mix of the two chromosomes from a pair.

So the chromosome 1 in your dad's sperm isn't exactly like either your paternal grandma's chromosome 1 or your paternal grandpa's chromosome 1. Instead, it is a new chromosome 1 made of about 50% of each of your grandparents' chromosome 1's.

Every sperm will have a differently mixed and matched chromosome 1. So the chromosome 1 that you got from your biological father is a totally unique, never before seen chromosome 1.

Paternal chromosomes.

The same process happens for all of the other chromosomes. And the same process also happens in the egg made by your biological mother.

Maternal chromosomes.

The matching chunks of DNA that relatives share come from the shuffling of DNA that happens when sperm and eggs are made. Now we're ready to tackle your original question with a little more detail.

Why Fourth Cousins Sometimes Don't Look Related

When you were formed by the fusion of a sperm and an egg, you ended up with 23 pairs of chromosomes. One chromosome in each pair was made out of DNA from your biological father, and the other one was made out of DNA from your biological mother. As we talked about, each chromosome you got from one parent is really a mixture of DNA from your two grandparents on that side.

Chromosome inheritance.

Now, let's say the picture below is a comparison between a set of your chromosomes and the chromosomes found in each of your parents.

Chromosome inheritance.

Notice that wherever you look on your chromosomes, you can find a spot where the colors you have are a half-match to each of your parents. This is called being half-identical. Notice that you are half-identical to each of your parents for 100% of your DNA.

If you look at your grandparents, you'll see that you are half-identical at about 50% of the spots along the chromosomes. (In real life the division might not be 50/50. The process of shuffling is random and sometimes you will end up getting more grandpa or grandma. We'll talk about this more later.)

Chromosome inheritance.

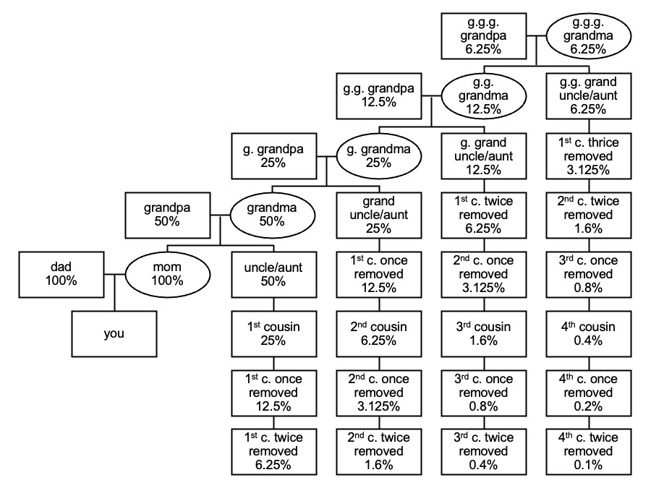
I think you'll see a pattern emerge as we go through the rest of your family tree. With every generation you are removed from a common ancestor with someone, the amount of half-identical DNA between that person and you is cut in half.

Inheritance percentages.

You have 50% half-identical DNA with your aunts and uncles. Their kids, your first cousins, are one more step removed and are 25% half-identical with you. You and your cousin's children are 12.5% half-identical, and so on and so on.

Fourth cousins are on average just 0.4% half-identical with each other. That means that half-fourth cousins would be only 0.2% half-identical. So we should still be able to see that in the DNA, right? Well, not always.

In every generation, the shuffling of DNA that happens when sperm and eggs are made is random. Sometimes a child will end up with a lopsided split between their grandparents' DNA. For the chromosome 1 you inherited from your dad, for example, you could actually have 70% grandpa's DNA and 30% grandma's DNA.

The deviations from 50/50 are different for every person and every chromosome. If on average you and a half-fourth cousin are only expected to be half-identical for 0.2% of your DNA, it's pretty easy to imagine that slight deviations that happened through the generations separating you two might bring this number down even lower. At the DNA level you might not look any more related than two strangers. 

Some More Genealogical Fun

So far we've just been talking about being half-identical to someone. Remember, half identical means having matching DNA on one of the two chromosomes. But is there anyone you would be fully identical to?

Well, if you have an identical twin you will of course be fully identical at every point in your DNA. But if you have a sibling, you two will also share some stretches of identical DNA. In other words, at some points both chromosomes will be identical between you and your sibling.

Let's go back to the shuffling process that makes the DNA that goes into sperm and eggs. It's pretty much random, so for any stretch of DNA you have a 50/50 chance of getting grandma or grandpa's copy from each of your parents. Your siblings also had the same 50/50 chance at each spot.

Probability tells us that, at any spot in your DNA, the chance that you and your sibling got exactly the same thing from both of your parents is 25% (50% times 50%). These are areas where you will be fully identical.

There is the same chance that you and your sibling got exactly opposite DNA from each of your parents, meaning that you are completely NOT identical for 25% of your DNA. That leaves about 50% of your DNA that is half-identical between you and your sibling. For each sibling you have, the areas that are half-identical, fully identical, or non-identical will be different, again because of the random process of DNA shuffling during sperm and egg production.

Below are pictures that show a comparison of all 23 pairs of chromosomes between a real girl and her dad's side of the family. Each pair is represented as just one bar. Light blue regions are chunks of DNA that are half-identical, dark blue regions are fully identical and white regions are non-identical (there are also a few gray regions where there wasn't enough data to do this type of analysis). The results would look the same for her mother's side of the family. 

Girl vs. Dad

Father daughter relatedness.

Girl vs. Brother 1

Sibling relatedness.

Girl vs. Brother 2

Sibling relatedness.

Girl vs. Paternal Grandfather

Grandchild relatedness.

Girl vs. Paternal Uncle

Uncle relatedness.

Girl vs. Paternal Male Cousin

Cousin relatedness.

 

Author: Dr. Erin Cline Davis

Our guest writer is a science writer at 23andMe, a web-based service that gives people access to their DNA and helps them understand what the information means. We turned to Erin for help on this question because of her expertise in showing people how genetics ties their families together. Erin was part of the Stanford at the Tech program in 2004/2005 and updates people about the latest news in genetics at the 23andMe blog The Spittoon.

Ask a Geneticist Home